产品简介:
利菲尔特大通量过滤器采用大流量打褶滤芯,多用于水处理中流量较大的保安过滤、清洗过滤、反洗过滤、冷凝液过滤等。本公司凭借多年过滤技术,经过对结构和工艺的不断改良。
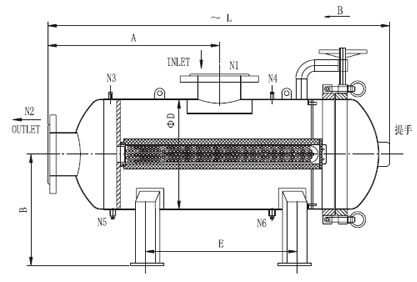
卧式大通量保安过滤器产品简介:
利菲尔特大通量过滤器采用大流量打褶滤芯,多用于水处理中流量较大的保安过滤、清洗过滤、反洗过滤、冷凝液过滤等。本公司凭借多年过滤技术,经过对结构和工艺的不断改良,现生产的大通量过滤器,其结构紧凑,工艺先进,质量稳定可靠,在多个领域得到广泛的应用。
设备选用3M、利菲尔特、利菲尔特等进口大流量打褶滤芯,可以获得更大的有效过滤面积。确保在紧凑的空间中达到稳定的过滤效果。
卧式大通量保安过滤器产品特点:
单支滤芯流量大,40”较高可达350加仑/分钟(1325升/分钟)
设备可根据空间,任意做卧式或立式结构
可以根据流量及精度要求,选配任意芯数和精度的过滤元件
滤芯密封部位的隔板,采用数控精密镗孔,可保证绝无液体绕道侧漏
滤芯内外均有牢固的支撑,可保证设备在运行时滤芯无晃动及歪斜,确保密封性能
设备开启采用吊环螺栓快速开启,维护设备及更换滤芯更加方便
滤芯通用外形尺寸外径:6”;长度:40”或60”
处理精度级别:1、3、5、10、20、30、40、70、90、150微米(μm)等。
卧式大通量保安过滤器主要技术参数:
设计压力:0.6~1.6MPA
设计温度:5℃~100℃,超过80℃需告知
密封型式:O型圈密封
密封材质:丁腈橡胶、硅胶、氟橡胶,标准配置为硅胶密封
接口形式: GB、HG、DIN、ANSI、JIS标准法兰
推荐更换压差:2.0bar
较大更换压差:2.4bar
表面处理:亚光喷珠
过滤精度: 1、3、5、10、20、30、40、70、90、150微米(μm)等。
滤器材质: SS304 、316L 、碳钢衬胶
